阅读:1250 | 评论:0
此为收款图专题,将会为大家列出爱小志的部分项目的收款图,以此证明项目的真实性并且激励大家做网赚的信心,同时也希望大家多多赚钱!
以下仅仅是爱小志所所操作网赚项目的部分收款图。建议大家操作本站强烈推荐的最新项目
热门网赚项目收款图:陆金所收款图(推荐)
快乐赚(直接注册账号 ,点此查看教程)2015年10月18日至11月21共提现560元

陆金所提现185元
陆金所官网:http://www.lufax.com/
陆金所提现185元收款截图:点击这里查看大图,到账速度非常迅速!

投米网提现50元
投米网官网网址:http://www.itoumi.com/ 【好消息:注册送30元代金券,最低50元即可投资,在充值20元投资,26天即可变现自动到账!爱小志已经成功收款!】
或者扫描二维码注册:
投米网提现截图(我的是中国建设银行)点击这里查看大图

舆观调查网收款60元
舆观调查网注册地址:https://china.yougov.com/【好消息,现在舆观调查网的最低起付金额已经降低为30元了,并且支持支付宝提现,有专门的服务QQ群,调查奖励多容易通过!】
起付额度:此站现在最低支付已经改为了30元即可支付了,即3000积分,支持支付宝提现。
钱宝网提现111元
钱宝网注册网址:10秒注册 注册激活码:638515【好消息,现在注册钱宝网,不仅可以每天签到获得钱宝币,还可以获得抢红包的机会】
提现截图:(钱宝网支持银行卡到账,到账时间一般是一个星期之内,也有支持2个小时就到账的,但是需要手续费)

2015年4月6日收到好几个项目的款项,这里重点提一下酷划手机解锁赚钱项目,是兑换了50元话费,


2015年3月31日至4月6日收款图太多了,这里省略……
2015年3月31日收到8个站点379元:推荐阅读《贴一下今天网赚项目收款379元收款图以及酷划支付首笔2元返佣》
其中:
别叉掉提现33元(直接注册账号 ,点此查看教程,游戏、任务和打码赚钱站点)
UFO联盟结算16.2元(直接注册账号 ,点此查看教程,UFO广告联盟是一家日付CPA广告联盟,满10元每日下午4-6点结算)
快乐赚提现支付28元,(直接注册账号 ,点此查看教程,游戏、任务和打码赚钱站点)
PC蛋蛋佣金提现129元,(直接注册账号 , 点此查看教程,游戏赚钱站点)
有赚网提现支付宝转账:34元,(直接注册账号 ,点此查看教程,游戏、任务和打码赚钱站点)
聚享游提现:67元,(直接注册账号,点此查看教程,聚享游为所有会员总支付超过了7000万元!新手必做游戏、任务赚钱和打码)

图片太小?看不清?点击这里查看收款大图1,点击这里查看收款大图2。

由于收款图太多,此处省略2015年1月3日至3月30日的收款图!
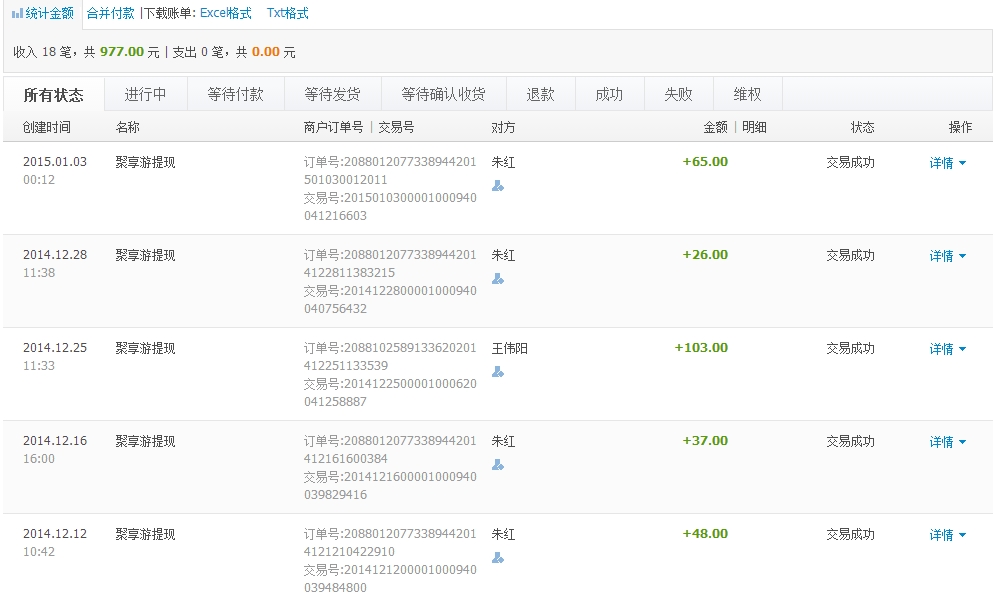
2014年10月4日至2015年1月3日,聚享游(点击注册,查看教程)共收款977元:



2014年10月10日至2015年1月3日,共收快乐赚(点击注册,查看教程)651元:



2014年10月9日至2015年1月5日,别叉掉(点击注册,查看教程)共提现747元



2014年10月9日至2015年1月3日,有赚网(点击注册,查看教程)共收款527元:


2014年6月6日至2014年7月1日,别叉掉(点击注册,查看教程)共提现586元:

2014年6月27日脉动广告联盟(点击注册,查看教程)收款108.8元:(支付工具是中国银行)

2014年6月6日至2014年6月30日,共收快乐赚(点击注册,查看教程)223元:

2014年6月6日至2014年6月29日,有赚网(点击注册,查看教程)共收款213元:

2014年6月6日至2014年6月29日,聚享游(点击注册,查看教程)共收款168元:

2014年6月23日共收城通网盘24元(点击注册,查看教程):

2014年6月17日共收预装宝手机APP推广联盟(点击注册,查看教程)1632元(以下是交通银行收款的截图)

2014年6月17日共收淘贝壳广告联盟29.98元:

2014年6月17日共收米赚(点击进入网站)20元:

更多收款图:(注意,由于爱小志在2014年上半年没有操作网赚,所以这里省略部分收款图)
更多收款图:别叉掉收款图